Для того, чтобы привести в движение и передние колеса, необходимы следующие узлы: дифференциальная передача и два приводных вала для передней оси, а также карданный вал для соединения между задней и передней осью.
Автобусы "синхро" поставляются с постоянным или подключаемым полным приводом.
Постоянный полный привод
Автобус с постоянным полным приводом имеет между передней и задней осями так называемое виско-сцепление. Это сцепление выполняет две задачи: 1. Оно распределяет силовой поток между задней и передней осями. 2. Уравнивает небольшие различия в числе оборотов осей.
На поворотах наблюдаются различное число оборотов колес передней и задней оси. Поэтому распределение сил должно быть гибким.
Виско-сцепление состоит из наполненной силиконовым маслом коробки, в которой находятся два плотно прилегающие друг к другу фрикционных диска, между которыми нет механической связи. Диски попеременно соединяются с карданным валом и приводным валом передней оси. Силовое замыкание возникает через вязкое силиконовое масло, которое реагирует на различия в числе оборотов между дисками. Различие в числе оборотов между задней и передней осью вызывает такое же различие в числе оборотов дисков. Чем больше различие в числе оборотов, тем больше энергии передается от задней к передней оси. Включение передних колес происходит мягко й практически не замечается водителем.
На нормальной, сухой дороге все колеса вращаются практически с одинаковой скоростью. Тогда почти вся энергия привода отбирается задней осью. Если же на плохой дороге задние колеса вращаются несколько медленнее, чем передние, то виско-сцепление сразу же передает больше энергии на переднюю ось. Если задние колеса проворачиваются, то практически вся тяга передается на передние колеса.
Подключаемый полный привод
Подключаемый полный привод состоит практически из тех же узлов, что и постоянный полный привод, но не обладает виско-сцеплением. Из-за больших напряжений, возникающих в приводе при поворотах и большой скорости, этот привод нужно применять только на плохих грунтах и на низких скоростях.
В отличие от автобуса с виско-сцеплением передний привод может быть постоянно отключен. Отключение происходит посредством разъединяющего сцепления в коробке передач перед карданным валом. Это сцепление приводится в действие посредством специального клапана, срабатывающего от пониженного давления всасывающей трубы двигателя.
В качестве дополнительного оснащения для тяжелых дорожных условий Фольксваген предлагает для автобусов с обеими версиями полного привода механизм блокировки дифференциала для передней и задней оси. Эти блокировки приводятся в действие также от пониженного давления всасывающей трубы.
Передний дифференциал обоих вариантов полного привод заполнен 1,5 литрами трансмиссионного масла GL 4 SAE 80. Замена масла не нужна. Контроль за маслом происходит сбоку через контрольное отверстие.
Ремонт полного привода должен выполняться специальными мастерскими.
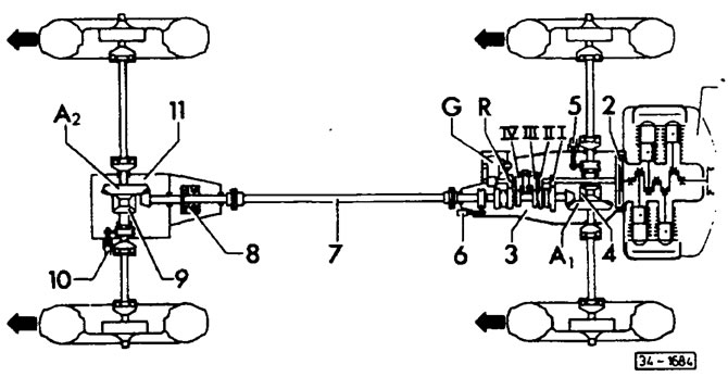
1 - двигатель; 2 - сцепление; 3 - коробка передач; 4 —задний дифференциал; 5 - задняя блокировка дифференциала; 6 - исполнительный элемент (только для автомобилей с подключаемым полным приводом); 7 - карданный вал; 8 - виско-сцепление (только для автомобилей с постоянным полным приводом; 9 - передний дифференциал; 10 - передняя блокировка дифференциала
А1 — задний привод
А2 — передний привод

Комментарии посетителей