
Открыть большую картинку в новом окне »
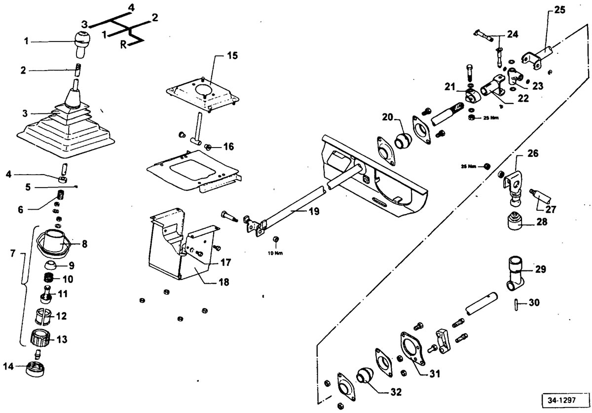
(1) головка ручки переключения передач
(2) ручка переключения передач
(3) защитный кожух
(4) втулка
(5) стопорный винт М5x8
(6) нажимная пружина
(7) подшипник ручки переключения передач. Порядок сборки: вставить полумуфты в резиновую прокладку, нижнюю Полусферу вдавить в полумуфты (буртик прокладки вверху), вставить нажимную пружину, для этого полумфты разъединить. Резиновую прокладку вдавить до конца в опору.
(8) опора
(9) верхняя полусфера
(10) нажимная пружина
(11) нижняя полусфера
(12) полумуфты
(13) резиновая прокладка
(14) распорное кольцо. Вставлять буртиком вверх
(15) выравнивающая опора
(16) подшипниковая втулка
(17) ограничитель хода
(18) кожух
(19) тяга переключения передач спереди
(20) подшипниковая втулка
(21) зажим
(22) вилка
(23) муфта с крестовиной
(24) болты
(25) тяга переключения передач, сзади
(26) рычаг. Входит в вал механизма переключения передач только в одном положении
(27) вал механизма переключения передач
(28) защитный кожух
(29) рычаг переключения
(30) трубчатый разрезной штифт
(31) подложка
(32) подшипниковая втулка

Комментарии посетителей