Съдържание: Демонтаж ↓ Монтиране ↓
Демонтаж
Внимание! Централното заключване може да се сваля и поставя при монтирана и отворена плъзгаща се врата.
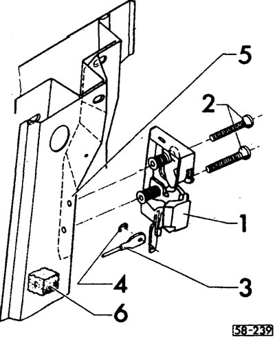
(1) централно заключване
(2) Болтове с шестостенна глава M8x40, момент на затягане 21-25 Nm
(3) теглене на тел
(4) заключваща шайба
(5) задна съседна повърхност на плъзгаща се врата
(6) Подложка за сцепление от пяна
Отстранете тапицерията на плъзгащата се врата.

(58-240) отстранете заключващата шайба 4 от пръта.
Отстранете пръта 3 от заключващия щифт на дистанционното управление.
Развийте болтове 2, вижте. фиг. 58-239.
Отстранете централната ключалка заедно с пръта, отделете заключващата шайба 4 от теления прът 3 и от централната ключалка, вижте фиг. 58-239.
Монтиране
Прикрепете пръта към щифта за централно заключване и го закрепете с шайба.
Натиснете пръта във вратата и поставете подложката от пяна 6 върху пръта 3, вижте фиг. 58-239.
Затегнете ключалката към вратата с въртящ момент от 20,7-25,3 Nm.
Прикрепете пръта към заключващия щифт на дистанционното управление и го закрепете със заключваща шайба. Залепете подложката към пръта в средата на вратата.
Оригиналната статия е публикувана на уебсайта VWMANUAL.ru

Коментари на посетители