Оглавление: Демонтаж ↓ Установка ↓
Если стекло зеркала разбилось, обычно заменяется все зеркало заднего вида. Но если речь идет об электрически управляемом и обогреваемом зеркале, то заменяется только стекло. В качестве запчастей имеются плоские и выпуклые стекла.
Демонтаж

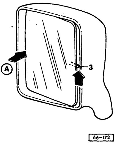
(66-172) стекло зеркала вдавить до упора — стрелка А так, чтобы стал доступен стопор 3 за стеклом.
Стопорный рычаг 3 поднять и вытащить стекло. Снять электрический кабель.
Установка
Присоединить кабель. Установить стекло.
Стопорный рычаг 3 нажать вверх, пока он не станет горизонтально.
Проверить, управляется ли зеркало электрически.

Комментарии посетителей