Оглавление: Двигатель 2,0 л ↓ Двигатель VR6 ↓
При работе двигателя температура картерного масла не должна сильно повышаться во избежание падения его вязкости. Частичное охлаждение масла происходит в поддоне картера и в корпусе фильтра вследствие обдува их воздухом от вентилятора системы охлаждения. Для более интенсивного охлаждения картерного масла применяют масляные радиаторы.
Из-за разного устройства масляных фильтров на двигателях VR6 и 2,0 л используются различные масляные радиаторы.
Двигатель 2,0 л
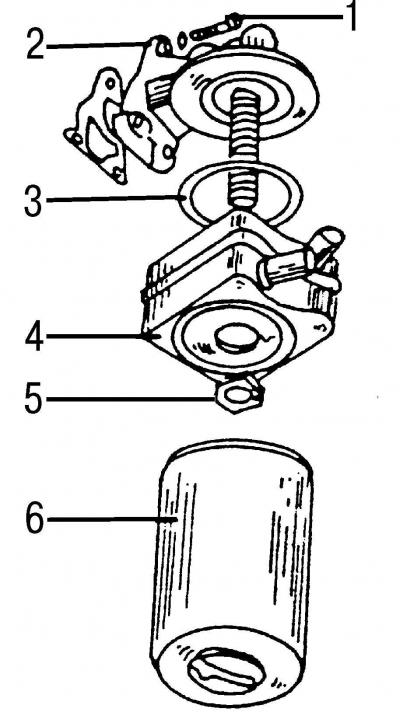
Рис. 177. Детали масляного насоса 2,0-литрового двигателя: 1 - болт, 25 Н·м; 2 - основание масляного фильтра; 3 - уплотнительное кольцо; 4 - масляный радиатор; 5 - гайка, 25 Н·м; 6 - масляный фильтр
На 2,0-литровом двигателе масляный радиатор 4 (рис. 177) расположен между основанием 2 масляного фильтра и масляным фильтром 6. Масляный радиатор снимается только после снятия масляного фильтра и отсоединения шлангов. Для этого отверните гайку 5 с нижней поверхности масляного радиатора. Между масляным радиатором и основанием установлено уплотнительное кольцо 3. При сборке гайку следует затягивать моментом 25 Н·м.
Двигатель VR6
Рис. 178. Расположение масляного радиатора на боковой стороне блока цилиндров двигателя VR6: 1 - направляющая трубка щупа для проверки уровня масла; 2 - O-образное уплотнительное кольцо; 3 - крышка, 25 Н·м; 4 - масляный радиатор; 5 - O-образное уплотнительное кольцо
На двигателе VR6 масляный радиатор жидкостного охлаждения установлен на боковой стороне блока цилиндров (рис. 178).
При жидкостном охлаждении масляный радиатор заключается в корпус, через который проходит рабочая жидкость системы охлаждения двигателя, и снижение температуры моторного масла осуществляется охлаждающей жидкостью. Шланги для подвода и отвода охлаждающей жидкости подходят к местам присоединения на фильтре.
Снять масляный фильтр можно после того, как будет слита охлаждающая жидкость из системы охлаждения и отсоединены шланги подвода охлаждающей жидкости. После чего отверните крышку с внешней стороны масляного фильтра и снимите радиатор. На каждой стороне масляного радиатора находится O-образное уплотнительное кольцо, которое следует всегда менять, если был снят масляный радиатор.
Масляный радиатор с жидкостным охлаждением обеспечивает не только охлаждение масла при работе в тяжелых условиях, но и быстрый прогрев масла при пуске двигателя.
При установке масляного радиатора смажьте оба уплотнительных кольца моторным маслом. Установите радиатор и приверните крышку моментом 25 Н·м. Присоедините шланги и залейте охлаждающую жидкость в систему охлаждения.

Комментарии посетителей