Проверка поршней
Замер следует производить примерно в 12 мм от нижнего края, под прямым углом к оси поршневого пальца. Максимально допустимое отклонение от номинального размера: 0,04 мм.
Номинальный размер: см. таблицу ниже.

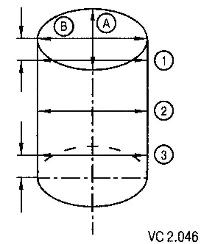
Проверка диаметра цилиндра
Для проверки следует произвести замеры на трех уровнях по двум взаимно перпендикулярным диаметрам в поперечном (А) и продольном (В) направлениях.
Отклонения от номинальных размеров: не более 0,08 мм.
Примечание: измерение внутреннего диаметра цилиндра нельзя производить, если блок цилиндров закреплен на кантователе, так как возможны ошибки в измерении.

Размеры поршней и цилиндров
| Диаметр поршней* | Внутренний диаметр цилиндров | |
| Номинальный размер | 76,470 мм | 75,51 мм |
| 1-й ремонтный размер | 76,720 мм | 76,76 мм |
| 2-й ремонтный размер | 76,970 мм | 77,01 мм |
* При измерении примерно в 12 мм от нижнего края поршня перпендикулярно оси поршневого пальца.

Комментарии посетителей