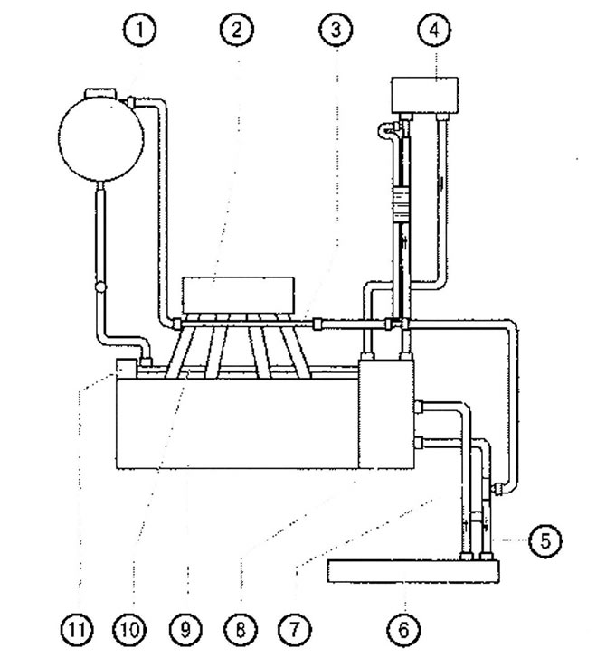
VC2.080. Схема соединений системы охлаждения:
1. Расширительный бачок
2. Впускной коллектор
3. Трубка системы охлаждения, верхняя - закрепленная на корпусе распределительных
4. Теплообменник отопителя
5. Шланг охлаждающей жидкости, верхний
6. Радиатор
7. Шланг охлаждающей жидкости, нижний
8. Корпус термостата
9. Головка цилиндров с блоком цилиндров
10. Трубка системы охлаждения, нижняя
11. Насос охлаждающей жидкости

Комментарии посетителей